知名女演员被举报偷逃税?税务专管员、前经纪
关键词:北京抓龙筋会所,北京朝阳抓龙筋会馆,北京抓龙筋理疗,北京抓龙筋按摩,北京专业抓龙筋,北京抓龙筋工作室,北京抓龙筋spa,北京手天使抓龙筋
爆料称目前宋祖儿已经被带走约谈,还说宋祖儿避税的方式是通过拆分合同和利用私人账户收款,另外称宋祖儿为了片酬问题还注销了3家公司,然后利用工作室的名义接戏,所以钱的来源就变了性质。
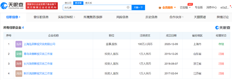
天眼查App显示,宋祖儿(孙凡清)共关联4家企业,其中,由其个人独资的青岛柒鼎影视文化工作室、长兴洵美影视文化工作室、新沂涓涓影视文化工作室均已注销,目前存续状态仅剩上海泓泉影视文化有限公司1家。
	
泓泉影视文化公司成立于2020年12月,注册资本100万人民币,法定代表人北京抓龙筋spa、执行董事、大股东为何旭军,宋祖儿担任监事并持股10%。年报信息显示,该公司参保人数为0。
	
网传截图显示,有人在税务官网举报演员宋祖儿涉嫌偷逃税款北京抓龙筋工作室。据了解,宋祖儿原名孙凡清,目前在上海泓泉影视文化公司任职北京朝阳抓龙筋会馆。上海松江税务局对接该企业的税务专管员告诉记者,暂未收到宋祖儿公司涉税举报工单。
8月31日中午,宋祖儿前经纪公司喜天影视发布声明,称与宋祖儿经纪合约已于2022年11月28日到期北京抓龙筋工作室。自2020年10月起,宋祖儿及家人已将财务资料全部拿走并自行管理,此后未参与相关财务核算和纳税申报北京专业抓龙筋。声明还称经调查了解,未发现有内部员工实名举报宋祖儿涉嫌偷税的情况。
	
	
宋祖儿,原名孙凡清,1998年5月23日出生于天津市,毕业于北京电影学院,中国内地影视女演员。
2005年出演电视剧《海阔天高》,出道。2007年,首次登上了中央广播电视总台春节联欢晚会的舞台。2009年,因在古装神话剧《宝莲灯前传》中饰演哪吒而被观众熟知。2019年,入选福布斯中国30位30岁以下精英榜。
据悉,宋祖儿待播剧有有与刘宇宁合作的《折腰》,与任嘉伦合作的《无忧渡》,与张新成合作的《艰难的制造》,与侯明昊合作的《阅读课》等。
新闻信息服务许可证音像制品出版许可证广播电视节目制作经营许可证网络视听许可证网络文化经营许可证北京抓龙筋工作室!北京手天使抓龙筋




